Форд запатентовал складывающийся автомобиль - «Автоновости»
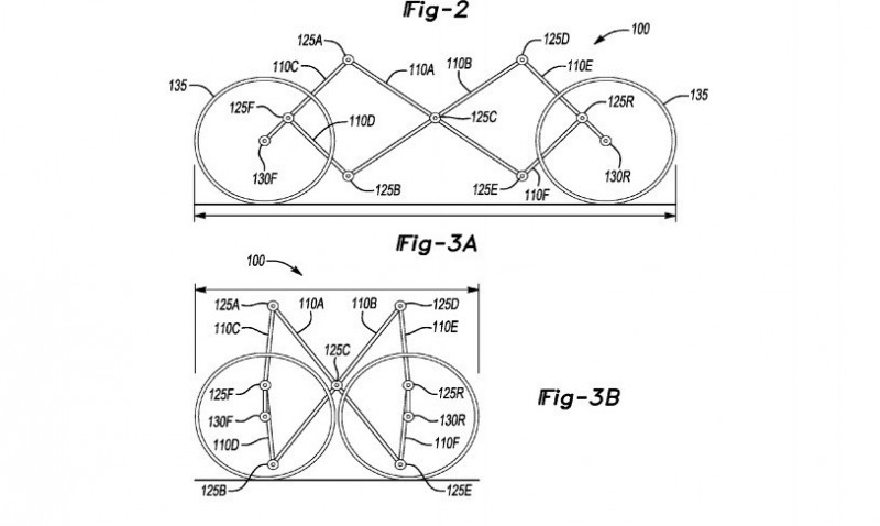
Трудно представить себе человека, несущего автомобиль под мышкой. Ну, если это не какой-нибудь «летающий скейтборд». Как и машину, сложенную в чулане. Но, как знать, когда-то мы понятия не имели о складывающихся велосипедах, а теперь ими никого не удивишь. Видимо, предваряя аналогичную идею, Форд запатентовал четырех-колесное транспортное средство, которое благодаря шарнирной раме, можно сложить так же, как велосипед.
![Форд запатентовал складывающийся автомобиль - «Автоновости»]()
В описании патента, опубликованного на сайте американского патентного ведомства, говорится, что производитель придумал автомобиль для развивающихся рынков, который может оказаться особенно полезным в крупных городах Индии и Китая.
Полагают, транспортное средство будет приводиться в движение электромоторами, а так как не предусмотрена стандартная фиксированная крыша, ею будет служить выдвижной тент, как на велорикше. Правда, вместо автомобильного руля, запатентованное «чудище», оснащено то ли велосипедным, то ли мотоциклетным рулем. Самое интересное, автомобиль трансформируется с двух-местного в четырех- и даже шести-местный и обратно. По дороге он будет ездить исключительно на тонких колесах, ничем не отличающихся от тех, которыми Форд оснащал свои автомобили 100 лет назад.
![]()
С передним и задним расположением электромоторов это транспортное средство можно будет использовать в условиях бездорожья и даже в качестве импровизированного трактора.
В общем, автомобиль этот придуман для компактности на парковке, а не для хранения в квартире или чулане. Впрочем, все зависит от свободного там места...
![]()
![]()

В описании патента, опубликованного на сайте американского патентного ведомства, говорится, что производитель придумал автомобиль для развивающихся рынков, который может оказаться особенно полезным в крупных городах Индии и Китая.
Полагают, транспортное средство будет приводиться в движение электромоторами, а так как не предусмотрена стандартная фиксированная крыша, ею будет служить выдвижной тент, как на велорикше. Правда, вместо автомобильного руля, запатентованное «чудище», оснащено то ли велосипедным, то ли мотоциклетным рулем. Самое интересное, автомобиль трансформируется с двух-местного в четырех- и даже шести-местный и обратно. По дороге он будет ездить исключительно на тонких колесах, ничем не отличающихся от тех, которыми Форд оснащал свои автомобили 100 лет назад.

С передним и задним расположением электромоторов это транспортное средство можно будет использовать в условиях бездорожья и даже в качестве импровизированного трактора.
В общем, автомобиль этот придуман для компактности на парковке, а не для хранения в квартире или чулане. Впрочем, все зависит от свободного там места...




